Noticias
Google patenta un wearable contra el cáncer
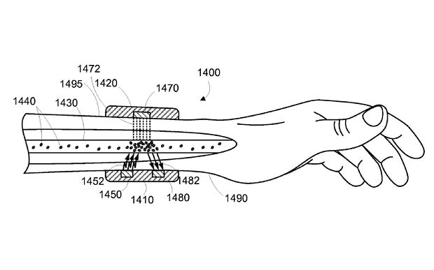
Google ha presentado una solicitud de patente en la Organización Mundial de la Propiedad Intelectual (WIPO), de un wearable contra el cáncer y otras enfermedades.
La solicitud de patente lleva el nombre «Nanoparticle Phoresis» y describe una pulsera inteligente que podría «de forma automática destruir células que tienen un efecto adverso para la salud».
Entre ellos se citan enzimas, hormonas, proteínas u otras moléculas que pueden afectar a la condición médica de un ser humano. Google cita células cancerígenas o ciertas proteínas que se han comprobado implicadas como causa parcial de la enfermedad de Parkinson.
El dispositivo sería capaz de modificar o destruir células dañinas mediante la transmisión de ‘energía’ en los vasos sanguíneos. La energía transmitida puede ser un pulso en frecuencia de radio, un campo magnético variable, un pulso acústico o una señal de luz infrarroja o visible. Esta energía produciría un cambio físico o químico en las células objetivo con el objetivo de reducir o eliminar los efectos adversos para la salud.
Google calcula en cinco años el tiempo necesario para ofrecer a las autoridades sanitarias este wearable contra el cáncer. La firma tiene otras investigaciones en marcha en el laboratorio Google X, como la «pildora» que será capaz de introducir nanopartículas de óxido de hierro en el torrente sanguíneo.
También está en marcha el uso de nanobots que incorporarían un sistema de reconocimiento gracias al cual sólo acabarían con las células tumorales y no con las sanas, avanzando en tratamientos de quimioterapia. El uso del óxido de grafeno para combatir las células cancerosas -probado con éxito en laboratorio en los cánceres más agresivos como pulmón, cerebral, mama o próstata- es otra muestra del uso de ciencia y tecnología para combatir el cáncer y principalmente la metástasis, causante del 90% de muertes por cáncer.
-
NoticiasHace 7 díasMicrosoft devuelve a Windows 11 funciones que nunca debió eliminar
-
NoticiasHace 2 díasGEEKOM A7 Max AI por solo 615 euros: un mini PC gaming con un ahorro de 154 euros a su precio más bajo del año
-
NoticiasHace 6 díasLlegan los primeros competidores al MacBook Neo, cumpliendo en hardware, pero con las dudas de Windows
-
A FondoHace 7 díasLos mejores contenidos de la semana en MuyComputer (DXXIV)



