Noticias
Microsoft patenta su propio MagSafe
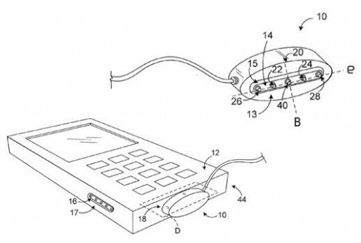
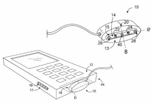
Microsoft ha presentado una patente para un conector de alimentación de acople magnético, similar al MagSafe de Apple, aunque en este caso también podría transferir datos.
La patente define «un conector para alimentación de energía y de datos que incluye una superficie plana de conexión simétrica, un par de interfaces de potencia simétricas y uno o más conectores magnéticos».
Microsoft incluiría más de un puerto en el dispositivo con enlace de fibra óptica para la conexión de datos, aparte de la alimentación energética.
Además del MagSafe estándar que Apple utiliza ya en todos sus portátiles (y del que muchos fabricantes deberían aprender) la compañía tiene solicitado una patente desde 2010, similar a la presentada por Microsoft para alimentación energética y datos en un único puerto de acople magnético.
Desarrollos interesantes que esperemos ver pronto en el mercado.
-
NoticiasHace 7 díasPS6 Lite, una consola de nueva generación por 399 dólares
-
AnálisisHace 3 díasXteink X4: el ebook que no compite con tu Kindle sino con tu móvil
-
A FondoHace 6 días16 GB de DDR5 en un módulo frente a 32 GB de DDR5 en dos módulos: ¿vale la pena montar solo un módulo de RAM?
-
NoticiasHace 5 díasRPCS3 ya funciona casi como una PS3 real: permite cargar juegos en ISO cifrado


