Noticias
Apple desarrolla un iPhone solar
Una patente para recargar las baterías de dispositivos móviles mediante energía solar, ha sido aprobada a Apple por la Oficina de Patentes de Estados Unidos, abriendo las especulaciones al desarrollo de un iPhone ‘solar’.
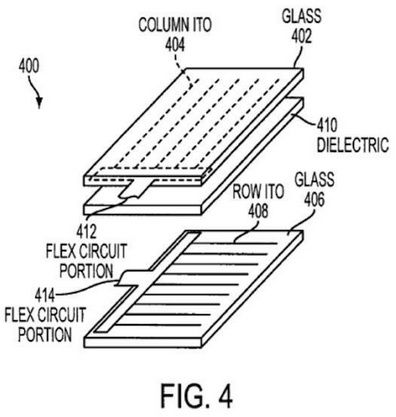
O a un iPad ya que sería aplicable a dispositivos móviles en general según un diseño denominado «sensor táctil y solar integrado», en un sistema compuesto de unos electrodos que captarían la luz y al tiempo funcionaría como los paneles táctiles habituales, cambiando de una a otra función simplemente cuando el usuario tocara la pantalla.
No es la primera patente que utiliza energía solar para alimentar o recargar las baterías ya que existen desde periféricos, portátiles o incluso CPU, GPU y memorias bajo tecnología Intel.
Sin embargo, la influencia en la industria tecnológica de Apple y su curioso diseño con los paneles solares integrados en las pantallas táctiles de los terminales, obligan a seguir esta patente de cerca cuya imagen base reproducimos:
Veremos si este tipo de diseños puede dar el salto a nivel comercial ya que como sabes, la autonomía es un punto a solventar en los potentes pero tragones dispositivos.
-
NoticiasHace 6 díasPS6 Lite, una consola de nueva generación por 399 dólares
-
NoticiasHace 7 díasCrackean Denuvo de Resident Evil Requiem en tiempo récord
-
AnálisisHace 2 díasXteink X4: el ebook que no compite con tu Kindle sino con tu móvil
-
A FondoHace 5 días16 GB de DDR5 en un módulo frente a 32 GB de DDR5 en dos módulos: ¿vale la pena montar solo un módulo de RAM?



