Noticias
MacBooks con una semana de autonomía con pilas de combustible
Apple ha registrado una patente que contempla un sistema de baterías a base de pilas de combustible que dotaría de autonomía a los portátiles MacBooks «durante días o semanas».
Curiosamente, la patente se ha registrado solo unos días después que la firma británica Intelligent Energy presentara una batería de hidrógeno y oxígeno en una pila de combustible que ofrecería una semana de autonomía a un móvil inteligente como iPhone 6.
La cuestión de la autonomía en smartphones es un tema candente y se extiende también a otros dispositivos móviles como ordenadores portátiles. Se sabe que Apple y el resto de tecnológicas están estudiando nuevas soluciones energéticas para alimentar los equipos y reducir el problema.
Las pilas de combustible podrían ser una solución. Una tecnología prometedora cuyas soluciones hasta ahora eran demasiado voluminosas y caras para el mercado de consumo.
En el caso de la patente Apple este tipo de baterías se incluirían junto a la estándar de ión-litio lo que significa que serviría de apoyo para aumentar la autonomía en los casos necesarios donde no tuviéramos acceso a una toma de corriente.
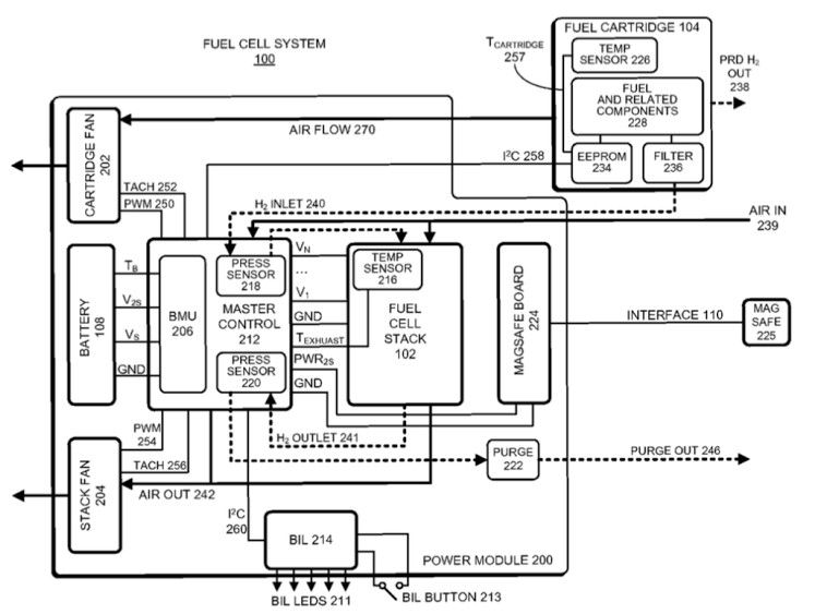
No se cita expresamente su uso en MacBooks pero la presencia de los conectores MagSafe revela que se refiere a sus ordenadores portátiles. Apple deja abierto el uso del combustible utilizado, centrándose más en el diseño, el controlador que monitorizará su funcionamiento o el ventilador. El diagrama del conjunto sería el siguiente:
No todas las patentes terminan convirtiéndose en productos comerciales pero conociendo la influencia de Apple en la tecnología mundial un proyecto de este tipo sería bienvenido.
-
AnálisisHace 4 díasXteink X4: el ebook que no compite con tu Kindle sino con tu móvil
-
NoticiasHace 6 díasRPCS3 ya funciona casi como una PS3 real: permite cargar juegos en ISO cifrado
-
A FondoHace 6 díasFrancia reemplazará Windows por Linux en un impulso hacia la soberanía digital
-
NoticiasHace 6 díasEl administrador de tareas de Windows solo ocupaba 80 KB de RAM


