Noticias
Microsoft patenta stylus capaz de escanear colores y texturas
El stylus o lápiz óptico se ha convertido en un accesorio muy popular gracias a su introducción en soluciones muy conocidas, como la gama Galaxy Note de Samsung o la línea Surface de Microsoft, hasta tal punto que incluso otras reticentes al mismo, como Apple, han terminado cediendo a sus posibilidades y han decidido apostar por él.
Sin embargo estamos ante un complemento que todavía tiene mucho que decir, ya que con los avances necesarios se puede convertir en una herramienta con un valor funcional todavía mayor, algo que el gigante de Redmond ha dejado claro en una nueva patente.
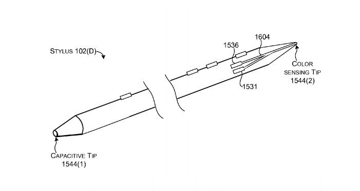
La idea de Microsoft en esta patente es muy ambiciosa, ya que hacer referencia a un lápiz óptico capaz de escanear colores y texturas directamente del mundo real y de aplicarlas sobre una pantalla, pero también toca otros puntos interesantes.
Así, podríamos por ejemplo apuntar directamente con el stylus a un objeto rojo, escanear su color y reproducirlo en un dibujo con el tono exacto, pero también podríamos asociar colores escaneados a funciones y aplicaciones concretas, de manera que tengamos acceso rápido a las mismas.
Saltando al tema de las texturas sería necesario utilizar una gran cantidad de sensores para poder llevar a cabo una identificación precisa, pero sus posibilidades son enormes, sobre todo para estudios de desarrollo 3D, dibujantes, diseñadores y artistas.
Al igual que en el caso anterior el stylus haría un escaneado de la textura de un objeto y podría reproducirla directamente en la pantalla del equipo.
Un concepto que como anticipamos resulta muy interesante, aunque no parece que haya centrado demasiado el interés de Microsoft, ya que aunque la patente ha salido a la luz recientemente está en manos del gigante desde 2014.
Más información: Neowin.
-
AnálisisHace 3 díasXteink X4: el ebook que no compite con tu Kindle sino con tu móvil
-
A FondoHace 6 días16 GB de DDR5 en un módulo frente a 32 GB de DDR5 en dos módulos: ¿vale la pena montar solo un módulo de RAM?
-
NoticiasHace 5 díasRPCS3 ya funciona casi como una PS3 real: permite cargar juegos en ISO cifrado
-
A FondoHace 5 díasFrancia reemplazará Windows por Linux en un impulso hacia la soberanía digital



