Noticias
Nintendo NX vendría sin unidad óptica, según una patente
La gran N no tiene pensado dar información sobre el hardware de su próxima consola de nueva generación hasta el próximo año, pero una nueva patente sugiere que Nintendo NX vendría sin unidad óptica.
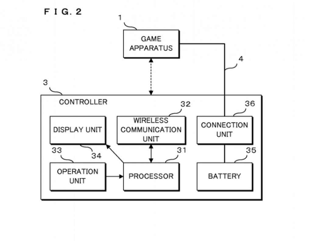
Según dicha patente la consola contaría con un disco duro tradicional para almacenar datos, además de un mando de control con una pantalla integrada que seguiría los pasos vistos en Wii U y su popular mando tableta.
Ciertamente la idea de una consola sin una unidad óptica convencional no resulta plenamente viable, ya que si bien es cierto que las descargas digitales han alcanzado una gran popularidad no todo el mundo tiene conexión a Internet, y en muchos casos ciertas conexiones no son lo bastante rápidas como para garantizar una experiencia óptima bajo este planteamiento.
Estaremos atentos a nuevas informaciones, aunque debemos tener en cuenta que esta patente podría estar relacionada con una nueva versión «mini» de Wii U y bajo coste que Nintendo podría lanzar a corto plazo, algo que ya hizo con Wii en su ciclo final de vida.
Os recordamos que según las últimas informaciones Nintendo NX estaría basada en un chip AMD y tendría una potencia similar a la de Xbox One y PS4, aunque su lanzamiento no se produciría hasta finales de 2016.
Más información: iDigitalTimes.
-
A FondoHace 2 díasLos 10 mejores reproductores de vídeo para Android (gratis y sin publicidad)
-
GuíasHace 6 díasQué son los DNS y por qué mejoran la experiencia en Internet
-
PrácticosHace 5 díasSeis usos de un pendrive USB más allá de almacenar archivos
-
GuíasHace 5 díasCómo arrancar un PC Windows en el menor tiempo posible


