Noticias
Sony patenta un nuevo concepto de consola portátil
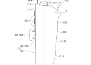
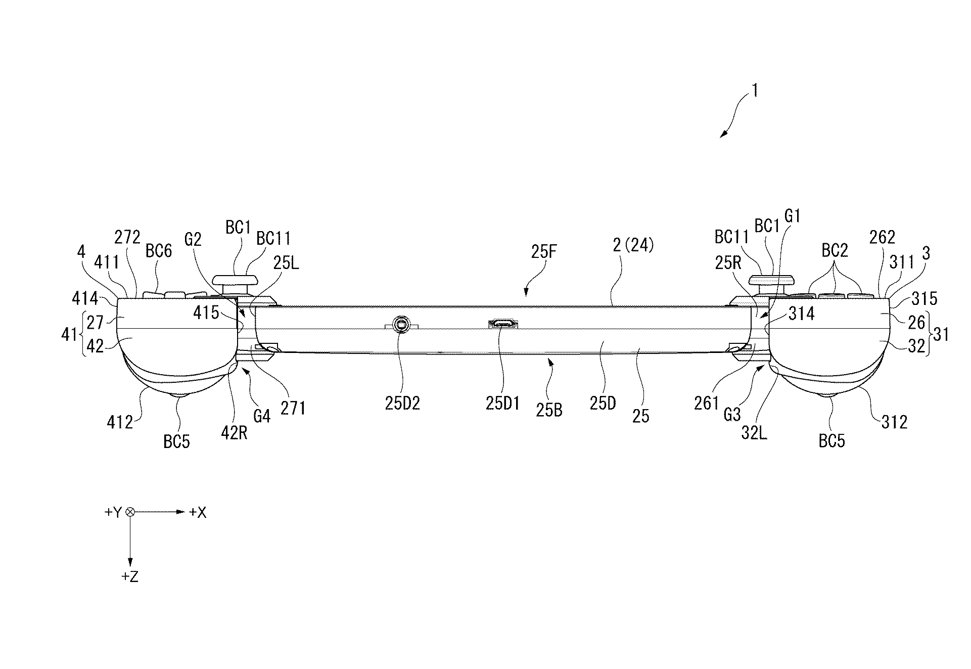
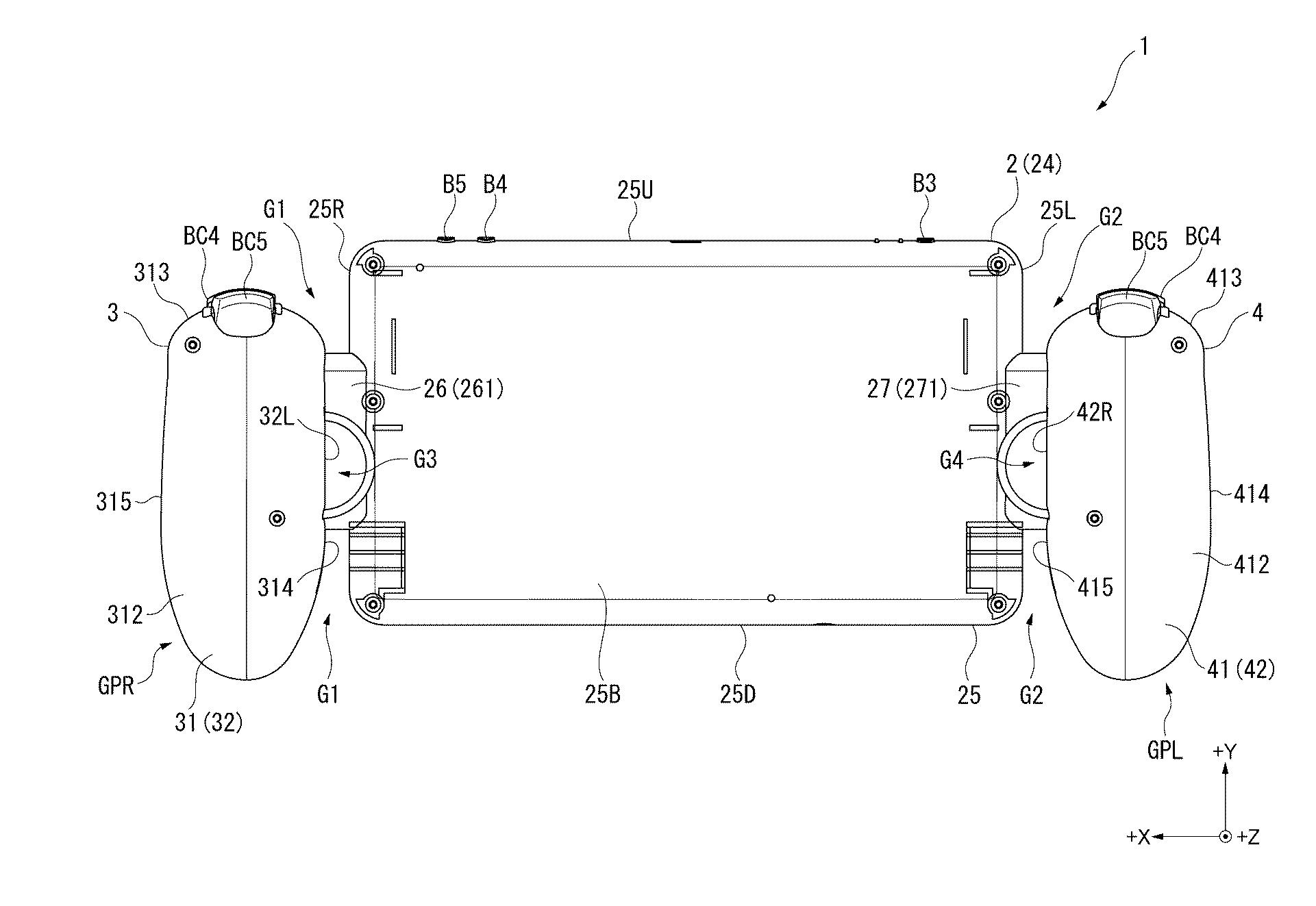
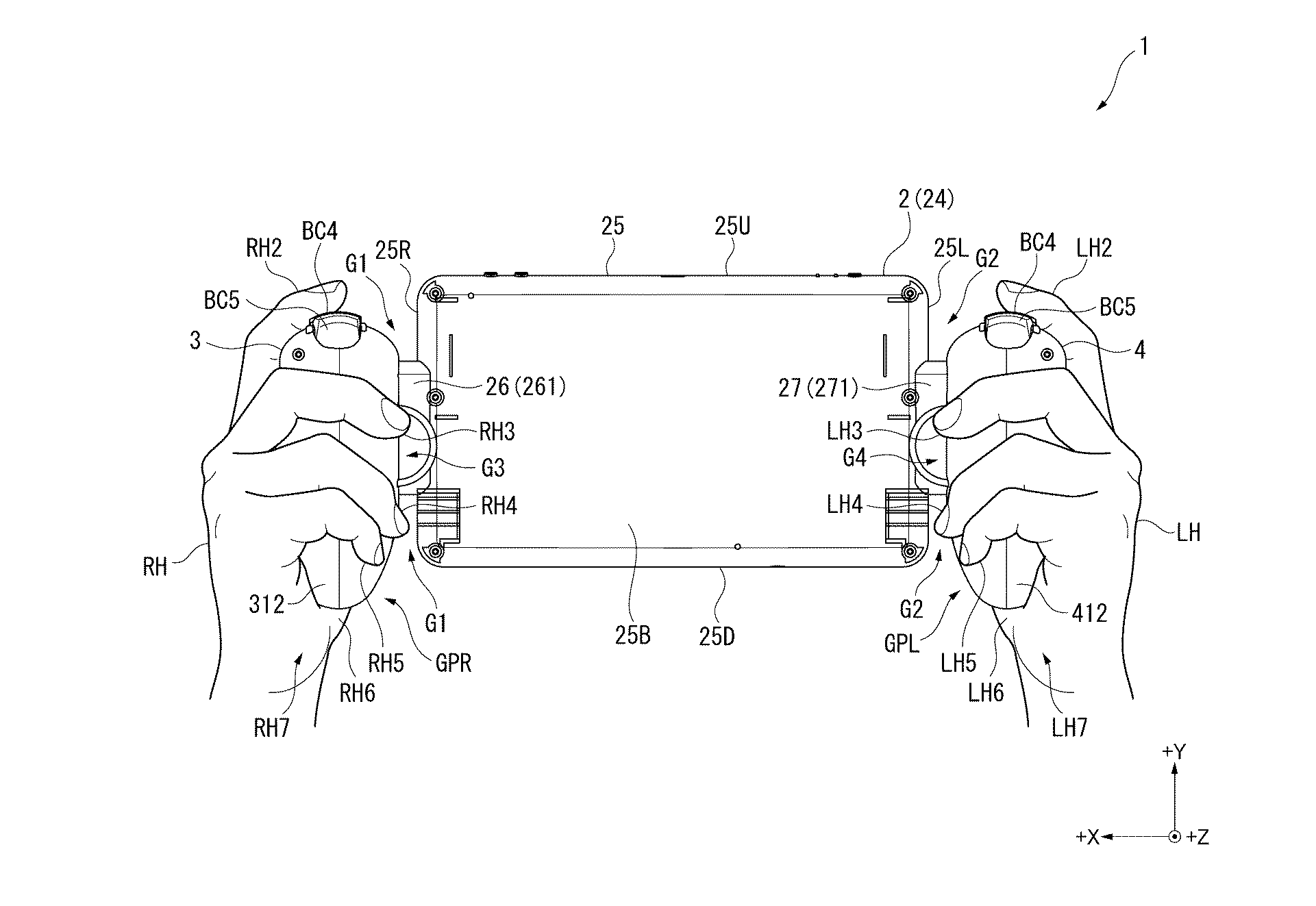
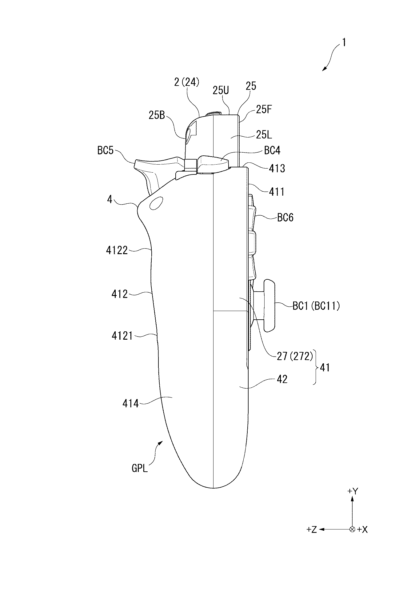
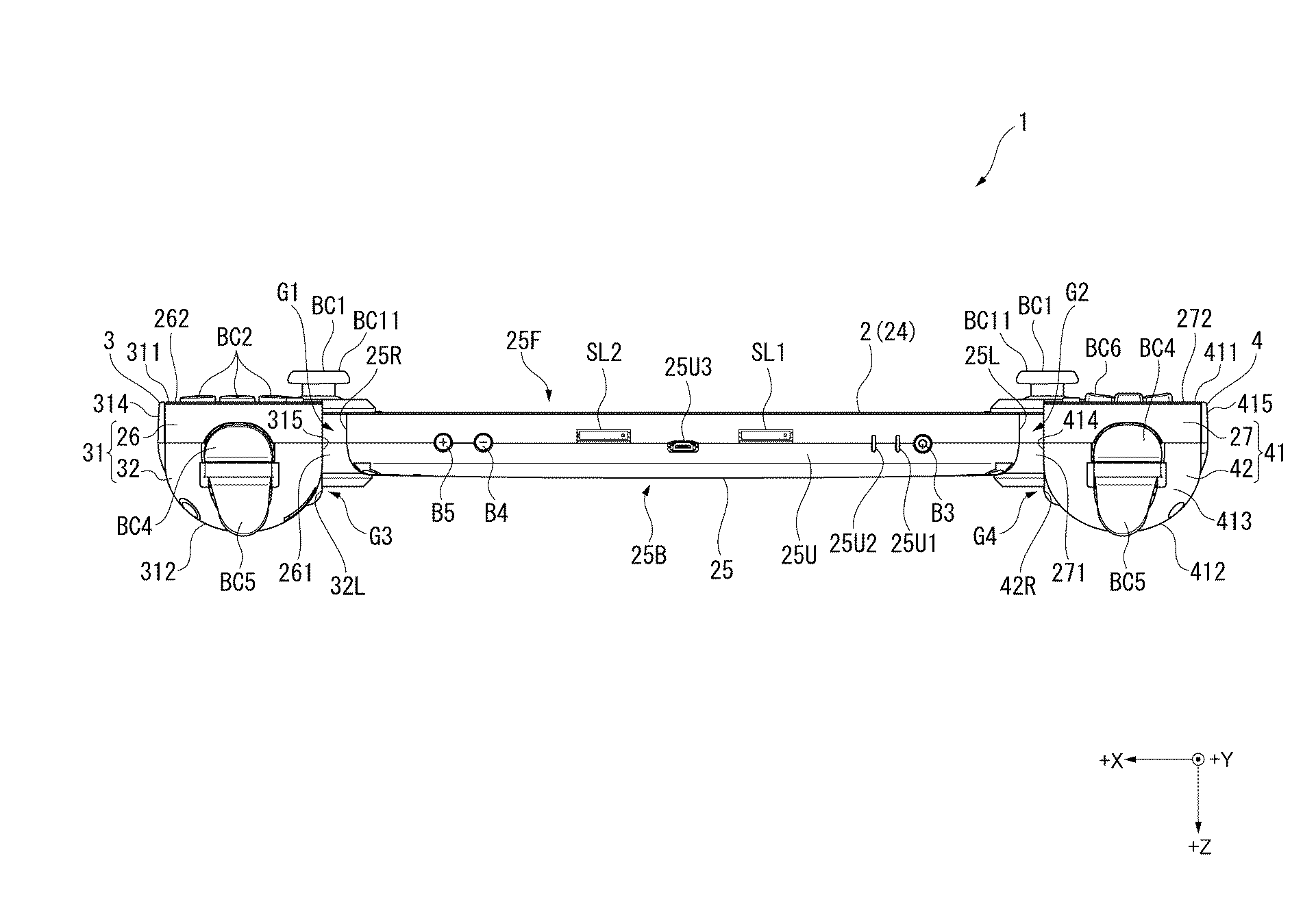
La compañía japonesa ha patentado un nuevo concepto de consola portátil que nos recuerda mucho a sistemas como el JXD Singularity S192, ya que el concepto base es muy parecido, al menos a primera vista.
Os acompañamos una imagen de dicho sistema para que podáis hacer una comparación directa y veáis que el parecido es claro y está ahí, y sí, sabemos que también hay en el mercado otros dispositivos que beben de esa misma idea y que resultan muy similares.
Podríamos describir este concepto como «una pantalla pegada a un Dual Shock dividido en dos», una definición simple pero acertada y efectista, aunque hay que introducir un matiz importante, y es que cabe la posibilidad de que las dos partes del mando de control pueda extraerse fácilmente, de una manera muy parecida a lo que hemos visto en Nintendo Switch.
De momento hay más preguntas que respuestas, por desgracia, y hasta que no tengamos una información más extensa en un idioma más fácil de entender no podremos concretar más allá de lo dicho, así que vamos a quedarnos con los datos y conclusiones más claras y fiables:
- La patente se registró en verano de 2015, por lo que Sony no habría copiado directamente a Nintendo Switch.
- No tiene porque ser una sucesora de PS Vita, aunque en principio sería lo más lógico.
- Se trata de una patente que lleva en el portafolio de Sony casi dos años, así que que no tiene porqué acabar materializándose en un producto comercial.
Más información: Esuteru.
-
AnálisisHace 3 díasXteink X4: el ebook que no compite con tu Kindle sino con tu móvil
-
NoticiasHace 5 díasRPCS3 ya funciona casi como una PS3 real: permite cargar juegos en ISO cifrado
-
A FondoHace 7 días16 GB de DDR5 en un módulo frente a 32 GB de DDR5 en dos módulos: ¿vale la pena montar solo un módulo de RAM?
-
A FondoHace 6 díasFrancia reemplazará Windows por Linux en un impulso hacia la soberanía digital










