Noticias
El iPhone plegable de Apple se confirma en desarrollo
Con todas las miradas puestas en el Motorola Razr, y confirmando los rumores anteriores, parece que Apple ya estaría trabajando en el desarrollo de su propio iPhone plegable, que según podemos ver en la última patente registrada, evitaría los principales problemas y fragilidades del modelo de Samsung.
Y es que no es la primera vez que Apple prefiere ceder la novedad de un producto para evitar un lanzamiento imperfecto, adoptando las nuevas tecnologías en un primer punto de maduración del producto para cumplir con su política de productos de calidad (y precios) premium.
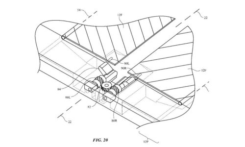
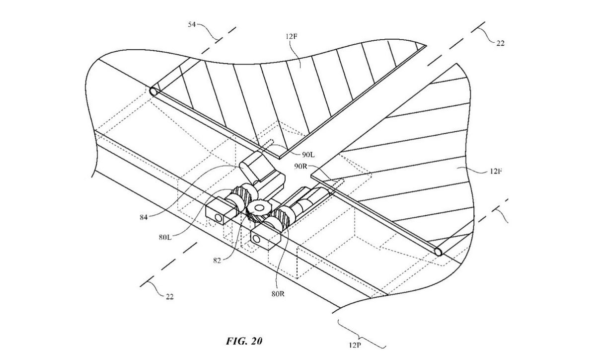
Según podemos ver en esta nueva patente publicada hoy, lo primero que destaca es la definición de un “Dispositivo electrónicos con pantallas y bisagras flexibles”, lo que podría indicar que en lugar de un iPhone plegable con una pantalla flexible, su dispositivo podría adoptar un concepto de doble panel más acorde con lo visto en los Surface Duo.
El resumen de Apple de la idea incluida con la documentación de la patente puede llegar a resultar un poco, pero básicamente plantea la inclusión de unas solapas flexibles en las pantallas que podrán extenderse sobre el pliegue, en función de cuándo se abra o cierre el dispositivo.
«El alojamiento también se puede colocar en una configuración plegada girando la primera y la segunda porción una respecto de la otra […] Las aletas móviles se pueden retraer cuando la carcasa se dobla para crear espacio para una parte doblada de la pantalla«.
De esta manera, los dos paneles crearían una superficie dividida pero prácticamente continua sin llegar a forzar el doblez de la pantalla, evitando así las protuberancias y arrugas creadas en los actuales dispositivos de pantalla flexible.
Sin embargo, la propia relación con los dispositivos de Microsoft, nos hace plantearnos si realmente Apple podría optar por aumentar el tamaño de los paneles usados, derivando en el desarrollo de una nueva tableta plegable en lugar de su smartphone.
Por el momento no se han especificado más detalles sobre el estado o avance de estos modelos, por lo que parece que pese a que ya en un desarrollo cerciorado, todavía estamos lejos de ver el primer iPhone plegable del mercado.
-
GuíasHace 3 díasWindows 11 Home o Windows 11 Pro ¿Cuál es la mejor versión para cada tipo de uso?
-
PrácticosHace 4 horasCómo usar Winhance para mejorar la experiencia con Windows
-
PrácticosHace 5 díasCómo mejorar la vida útil de la batería de un portátil
-
A FondoHace 1 díaBazzite, el clon de SteamOS que quiere ser el mejor Linux para jugadores



