Noticias
Apple patenta una tecla que se convierte en ratón
Estamos acostumbrados a ver, cada cierto tiempo, alguna patente registrada por Apple que nos deja sorprendidos. Es cierto, claro, que el registro de una idea no se traduce, necesariamente, en que ésta se transforme, con el tiempo, en una realidad tangible en alguno de sus dispositivos, pero como mínimo sí que nos ayuda a hacernos una idea de las inquietudes de los responsables de la compañía, así como de la capacidad de innovar de sus diseñadores e ingenieros.
Tal es el interés que suscitan las patentes registradas por los de Cupertino que incluso podemos encontrar páginas web dedicadas, en exclusiva, a hacer seguimiento de las mismas, para lo cual revisan de manera constante las entidades registradoras empleadas habitualmente por Apple. Nuestro interés, evidentemente, no llega a tanto, pero sí que nos gusta reparar en aquellas que, por una u otra razón, consideramos que tienen cierto interés.
Tal es el caso, sin duda, de una patente registrada por Apple que plantea una tecla extraíble que se convierte en un ratón. La solicitud de la misma fue presentada, según se indica en el documento, en febrero de 2022, si bien es cierto que ya había referencias a la misma en 2021 y que, además, en dicha presentación podemos leer que esta patente, ahora ya concedida, es la continuación de otra que fue presentada en febrero de 2020 y que también le fue concedida en su momento.
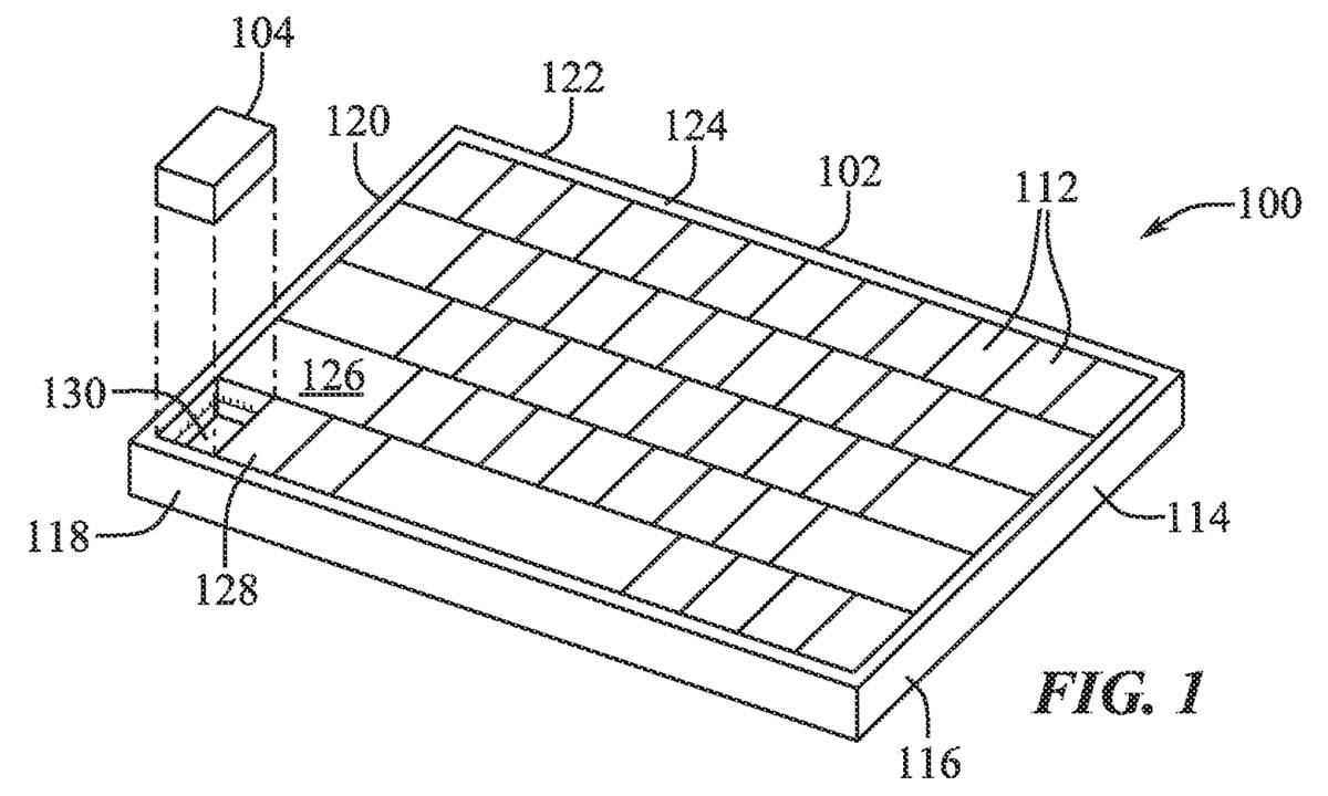
Lo que plantea esta patente, como puedes ver en la imagen superior, es una tecla aparentemente normal, con mecanismo de tijera (el más común entre los teclados de membrana) pero que, al ser extraída, pasa a actuar como un ratón. Para garantizar su autonomía debe integrar una pequeña batería que se mantiene en carga mientras que la tecla está emplazada en el teclado, y en el momento en el que es extraída debe establecer una conexión, podemos apostar que mediante Bluetooth-LE.
La tecla también incluye, claro, los elementos necesarios para capturar los movimientos y, por lo que podemos entender, debería hacerlo con bastante precisión, pues este sistema no parece apuntar tanto a ser una alternativa al touchpad presente en todos los modelos de MacBook, como a ofrecer una herramienta de mayor precisión que podemos necesitar en determinados momentos (por ejemplo cuando estamos editando una imagen y con tareas similares).
Convertir una patente como esta en una realidad parece, sin duda, un proceso bastante complejo, por lo que no parece demasiado probable que vaya a convertirse en una realidad. No obstante, sí que podría suponer una propuesta especialmente interesante para usuarios de portátiles de Apple que, en ocasiones, necesitan un dispositivo señalador de precisión, pero que no quieren tener que llevar siempre un ratón encima.
-
AnálisisHace 6 díasXteink X4: el ebook que no compite con tu Kindle sino con tu móvil
-
A FondoHace 5 díasResident Evil Requiem y Pragmata utilizan SER, ReSTIR GI y DLSS RR: ¿sabes qué son y por qué importan?
-
NoticiasHace 6 díasLa IA sigue causando estragos en los precios de la tecnología, ahora Samsung Galaxy y Microsoft Surface
-
NoticiasHace 7 díasOneXPlayer X2 Mini, un híbrido entre consola, tablet y mini portátil


