Conecta con nosotros

Noticias

Oppo explora la creación de un smartphone con módulos de cámara extraíbles

Publicado

el

Oppo patente smartphone módulo de cámara extraíble

Si bien parece que los fabricantes de teléfonos están actualmente más enfocados en la exploración de los distintos formatos de pantalla, esto no quita para que existan otros campos interesantes para la innovación como las cámaras. Y es que estos componentes pueden destacar no sólo por la cantidad de sus megapíxeles, sino por ideas como las cámaras emergentes, ocultas bajo la pantalla, o por qué no, extraíbles. Al menos así lo ha pensado Oppo.

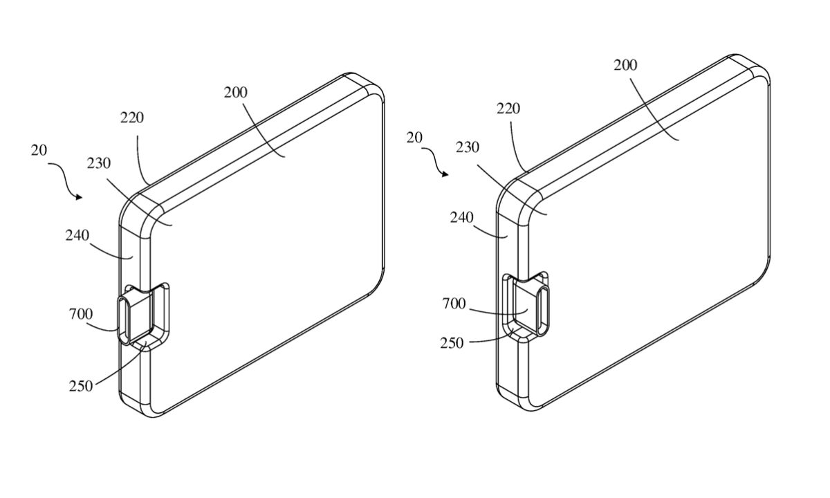
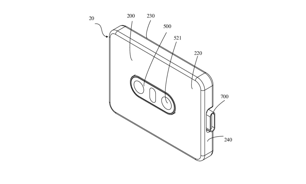
Según la última patente registrada en la Oficina Mundial de Propiedad Intelectual (OMPI), parece que la compañía china ha comenzado a investigar sobre la posibilidad de crear un módulo de cámara extraíble que nos permitiría desmontar y recolocar la cámara de nuestro teléfonos inteligentes según si deseamos tomar una fotografía normal o un selfie, sin tener que sacrificar pantalla ni calidad de imagen.

Las imágenes y la descripción de la patente muestran que este futuro teléfono inteligente potencial tendrá un módulo de cámara trasera que se puede quitar del panel posterior y luego se puede usar para tomar selfies usando un conector USB Tipo-C, así como otras posibles opciones como la conectividad por WiFi o Bluetooth, adelantando así un posible uso remoto.

Además, el conector USB ubicado en el módulo contará con un pequeño codo que lo permitirá doblarse en al menos dos ángulos fijos de 90 grados y 180 grados, ampliando ligeramente las opciones de tomar de imágenes.

Una vez más, remarcar el hecho de que la aparición de esta patente no implica que Oppo vaya a añadir este smartphone a su hoja de ruta de productos. Y es que la compañía es ya conocida por haber abandonado otros proyectos innovadores como la cámara emergente del Oppo Find X en favor de una matriz más convencional en el Oppo Find X2 Pro.

Aunque por otra parte, también hay que recordar la reciente presentación del concepto de teléfono enrollable, en este caso un proyecto que parece sí que seguirá adelante, dejando claro que la compañía no se cierra completamente a la implantación de estas ideas innovadoras.

Gran fan de la industria del videojuego, también me considero bastante techie, por lo que trato siempre de estar al día sobre toda la información tecnológica.

Lo más leído